不拘一格!腾讯投资动力电池!
发布日期:2022/4/9
4月6日,广州巨湾技研有限公司(简称“巨湾技研”)发生注册资本变更及股东变更。注册资本由7261.70万元变更为8031.4402万元,增加幅度为10.6%。
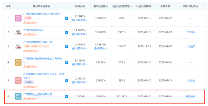
股东变更方面,新增11股东,最亮眼的是,巨湾技研新增股东中出现了广西腾讯创业投资有限公司(简称“广西腾讯创投”),并且广西腾讯创投持股2.2611%,为第6大股东!

图片来源:企查查
关于巨湾技研
公开资料显示,巨湾技研成立于2020年9月,是广汽集团首家内部孵化技术创新公司,由广汽集团牵头,广汽资本、广汽研究院先导技术团队与第三方战略伙伴持股平台共同出资成立。
巨湾技研专注超级快充动力电池和新一代突破性储能器及其系统的研发、生产、销售和服务。研发实力方面,智慧芽数据显示,巨湾技研目前共有12件已公开的专利申请,其中7件为发明专利,公司专利布局主要与石墨烯、车辆动力等领域相关。
据了解,巨湾技研第一代储能器超快充电池拥有独特的新型导电剂材料和系统性的工程设计,提高了锂离子的迁移率、提高嵌入/脱嵌速率和电导率,配合最高可达880V的高电压平台,电池最大充电速度是现在普通电池的6倍,最大充电功率480kw。
巨湾技研研发的5-8分钟充电80%的“超级快充三元软包锂电池”(3C/6C版),已于广汽埃安AION V Plus车型实现量产,创造了“最快电动汽车充电技术”的世界纪录。
产能方面,巨湾技研在广州南沙的电池包工厂目前已全面投产,此外还计划在广州黄埔开发区建设研发与生产基地,从事超级快充电芯、下一代新型储能器件及PACK集成系统的研发和生产,预计一期工程将在2023年完成建设,产能将达8GWh,对应12万台车的供应。
4月1日有消息称,广汽集团董事长曾庆洪透露巨湾技研已完成A轮融资,估值达80亿元人民币。
关于广西腾讯创投
广西腾讯创投成立于2020年1月6日,法定代表人为李朝晖,注册资本为3000万元,经营范围包括创业投资业务;代理其他创业投资企业等机构或个人的创业投资业务等。
广西腾讯创投由深圳市腾讯睿见投资有限公司(简称“腾讯睿投”)100%控股。
而腾讯睿投的实际控制人是马化腾,马化腾对腾讯睿投拥有60%的受益股份及100%的表决权。
图片来源:企查查
如果以目前巨湾技研估值80亿元人民币计,腾讯持股2.2611%,其投资额或约为1.81亿元!
来源:维科网锂电 作者:尔东