返回首页
你现在的位置: > 首页 > 企业动态 > 正文

海“钠”百川!华为出手钠离子电池

发布日期:2022/4/3


    


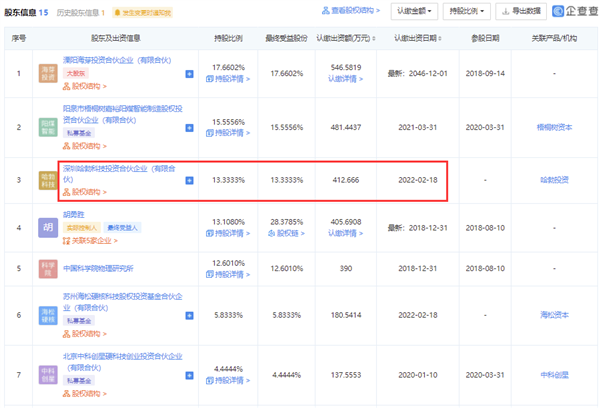
       4月1日消息,据企查查数据显示,近期,北京中科海钠科技有限责任公司(简称“中科海钠”)发生工商变更,新增华为旗下深圳哈勃科技投资合伙企业(有限合伙)(简称“深圳哈勃”)等为股东,同时注册资本增至约3095万人民币。


      根据股东信息显示,深圳哈勃认缴出资额为412.666万元,持股比例为13.3333%。


      资料显示,中科海钠成立于2017年2月,法定代表人为胡勇胜,经营范围含自然科学研究与试验发展;工程和技术研究与试验发展等。


      官网资料显示,中科海钠是一家专注于新一代储能体系-钠离子电池研发与生产的高新技术型企业。企业拥有多项钠离子电池核心专利,是国际少有拥有钠离子电池核心专利与技术的电池企业之一。


       公司聚集国内乃至国际领先的技术开发团队,现拥有以中国工程院院士陈立泉院士、中国科学院物理研究所胡勇胜研究员为技术带头人的研究开发团队。


      公司聚焦低成本、长寿命、高安全、高能量密度的钠离子电池产品,潜在应用覆盖各类各类电动自行车,低速电动车、通讯基站、数据中心、家庭储能和规模储能等领域。同时,公司可供应钠离子电池正负极材料与电解液。


      据了解,钠离子电池是一种依靠钠离子在正极与负极之间移动来工作的二次电池,相较于锂离子电池来说,钠离子电池具有集流体材料更便宜、离子电导率更高、高低温性能更优异、安全性能更好等优势。


       应用方面,在对能量密度要求不高的场景中,将有着广泛的应用前景。生产方面,钠离子电池与锂离子电池的工作原理相似,与锂离子电池的生产设备大多可兼容,现有的锂电池公司较容易转向制造钠电池。


       此外,钠离子电池不含有贵金属或稀有金属,地壳中钠储量较为丰富,且在全球分布较为均匀,其价格受市场需求的影响也会更小,生产成本较低且更稳定。


      业内机构认为,理论上钠电池BOM成本比锂电池低20%,可以做到比磷酸铁锂的成本更低。暂以磷酸铁锂价格推算,预计2025年国内钠离子电池潜在应用场景需求量为123GWh,对应537亿元左右的市场空间


      国内一家钠离子产业负责人表示,目前钠离子电池正处在一个前期的快速发展期,无论是资本市场还是合作伙伴都对此表示了浓厚的兴趣,引来了诸多企业争相布局。


     去年7月,宁德时代发布第一代钠离子电池。同时宣布,公司就该产品已经与部分车企和储能客户进行商业化合作,这是钠离子电池首次大规模进行商用。



      今年3月,钠离子电池新锐江苏众钠能源科技有限公司宣布完成由碧桂园创投独家领投的新一轮融资,本轮资金主要用于扩充研发及量产技术团队。
同月,中科海钠宣布完成亿元级A轮融资,投资方为梧桐树资本,本轮融资将用于搭建年产能2000吨的钠离子电池正、负极材料生产线。


      目前,钠离子电池已逐步开始了从实验室走向实用化的阶段,国内外已有超过二十家企业正在进行钠离子电池产业化的相关布局,并且取得了重要进展。


     业内人士认为,2023年可能会是国内钠离子电池商业化的元年,届时会有数家企业推出量产产品,进入到产品比拼和客户磨合的阶段,大规模储能系统、5G基站、户用储能、光伏、风能都将是钠离子电池的主战场。


      再回到中科海钠,全球首条钠离子电池规模化量产线就将诞生于这家企业。


     去年12月18日,中科海钠与三峡能源、三峡资本及安徽省阜阳市人民政府达成合作,将共同建设全球首条钠离子电池规模化量产线。该产线规划产能5GWh,分两期建设,一期1GWh将于2022年正式投产。


       此次合作,凭借中科海钠在钠离子电池领域全球领先的技术底蕴和储能电池行业的应用积累,依托阜阳市皖豫省际区域性中心城市区位、新兴制造业和新能源产业多重优势,发挥三峡集团清洁能源行业引领、产业协同、科技创新带动能力,各方强强联手,标志着钠离子电池产业化进入新阶段,开启新篇章。  
 

      钠离子电池,于2021年走进大众视野,作为极具潜力的新一代电化学储能电池技术,具有长循环、宽工作温度、高倍率等性能优势,同时破解了稀缺资源的“卡脖子”问题。无资源限制、低成本、高安全等优势使钠离子电池成为大规模储能的重要可选路径。


      中科海钠作为全球领先的钠离子电池产业化公司,核心技术源于中国科学院物理研究所数十年的科研积淀,核心团队由中国工程院院士陈立泉、中国科学院物理研究所研究员胡勇胜牵头,拥有20余项钠离子电池核心发明专利,其中包括多项PCT国际专利。在产业化探索过程中,中科海钠覆盖了从关键核心材料到电芯制造,以及系统应用先试先行的完整布局,并且在全球范围内率先完成了包括低速电动车、家庭储能柜和钠离子电池储能示范电站在内的多个示范应用。


     中科海钠生产的钠离子电池具有高容量、高安全性、优异快充性能、低成本等技术优势,瞄准的是160Wh/kg以下应用场景,有望广泛应用于电化学储能、数据中心、5G通讯基站、低速电动车等应用场景,并开拓千亿级“蓝海”市场空间。


     本次各方合作是深入贯彻习近平总书记关于科技创新重要指示精神的体现,有助于推动经济社会发展绿色低碳转型和国家能源经济安全,是助力中国实现“2030年碳达峰、2060年碳中和”宏伟目标的重要举措。


      未来,各方将有望共同推动规划30GWh全球先进钠离子规模量产线,通过共同努力加快钠离子储能电池技术进步和产业化落地速度,推动建立行业标准和规范,助力中国钠离子储能电池产业在世界上取得主导地位。


钠离子电池概述


      钠离子电池是摇椅式二次电池,与锂离子电池原理一致。钠和锂属同一主族元素,在电池工作中均表现出相似的“摇椅式”电化学充放电行为。钠离子电池在充电过程中,钠离子从阴极脱出并嵌入阳极,同时电子通过外部电路,嵌入阳极的钠离子越多,充电容量越高;放电时,发生相反的过程,回到正极的钠离子越多,放电容量越高。


钠离子电池当前的成本及性能

     中科海钠创始人兼董事长胡勇胜曾表示,尽管钠离子电池的能量密度低于锂离子电池,但其安全性、经济性等多项指标则优于锂离子电池。目前,锂离子电池的能量密度最高可以达到300 Wh/kg。


     中科海钠称,在未来实现量产的情况下,该公司钠离子电池的材料成本预计为0.26元/Wh,较相同容量的磷酸铁锂电池下降约三成。在电池制造环节,钠离子电池则与磷酸铁锂电池的生产成本相当。


      据唐堃博士介绍,中科海钠核心竞争力在于正极材料与负极材料两大核心材料侧的研发能力。
 
       正极材料领域,国际上首次发现Cu氧化还原变价,设计铜、铁、锰层状氧化物三元正极材料,稳定性、电化学性能优异,且成本更低。
 
      负极材料领域,石墨无法做钠离子电池负极,必须使用硬碳,但其价格高昂。中科院物理所聚焦碳材料,创造性采用无烟煤这种便宜的前驱体制备无定型碳材料,成本下降且兼顾循环寿命。


     基于上述两大材料低成本技术,叠加电解液、电化学体系及电池结构优化设计,以及生产工艺各维度全体系创新,全面构建中科海钠核心竞争力。其钠离子电池BOM成本较锂离子电池下降30%以上。
 
       此外,中科海钠拥有硬核的材料底层专利。其电池具备高安全性,针刺测试不起火、不爆炸,可放电到0V,不存在过放问题,支持高温80oC使用,支持快充,12分钟充电90%,5分钟充电80%,同时低温放电性能优势明显等。


钠离子电池的前景


      8月25日,工信部在回复全国政协委员《关于在我国大力发展钠离子电池的提案》时表示:高性价比的钠离子电池有望成为锂离子电池的重要补充,尤其是在固定式储能领域将具有良好发展前景。有关部门支持促进性能优异、符合条件的钠离子电池在新能源电站、交通工具、通信基站等领域加快应用,推动钠离子电池全面商业化。


      2021年12月23日,国家能源局发布了《国家能源局综合司关于2021年度能源领域首台(套)重大技术装备项目的公示》,其中能源局拟将“300MW级变速抽水蓄能机组成套设备”等76项技术装备列入2021年度能源领域首台(套)重大技术装备项目清单(具体详细的清单请登陆国家能源网下载),根据清单内容,整理了8项储能相关技术装备,其中包括中科海钠MWh钠离子电池储能电站入围国家能源局2021年度能源领域首台(套)重大技术装备项目,杭州捷能科技有幸参与其中,在钠离子电池的Pack产业化方面,杭州捷能科技有限公司一直在进行技术方面的研究和探索,并深度参与了MWh钠离子电池储能电站量产的Pack研发和制造,积累了丰富的产业化经验。


      8项储能相关技术装备具体如下:
     1 技术装备(项目)名称:300MW级变速抽水蓄能机组成套设备
      研制单位:国网新源控股有限公司、哈尔滨电机厂有限责任公司、东方电气集团东方电机有限公司、南京南瑞继保电气有限公司、国电南瑞科技股份有限公司
       依托工程或意向工程:辽宁庄河抽水蓄能电站、湖南安化抽水蓄能电站、广东肇庆抽水蓄能电站

      2 技术装备(项目)名称:700米级350MW抽水蓄能机组成套设备
      研制单位:国网新源控股有限公司、东方电气集团东方电机有限、哈尔滨电机厂有限责任公司
       依托工程或意向工程:吉林敦化抽水蓄能电站

      3 技术装备(项目)名称:1MWh钠离子储能电池系统
研制单位:北京中科海钠科技有限责任公司
     依托工程或意向工程:山西太原1MWh钠离子电池光储充智能微网系统

     4 技术装备(项目)名称:先进压缩空气储能系统
     研制单位:中国科学院工程热物理研究所、中储国能(北京)技术有限公司
     依托工程或意向工程:山东肥城先进压缩空气储能调峰电站、基于百兆瓦压缩空气储能系统的综合能源应用示范项目

      5 技术装备(项目)名称:调频支撑的兆瓦级飞轮储能系统
研制单位:中国长江三峡集团有限公司
     依托工程或意向工程:一次调频示范项目、三峡新能源乌兰察布新型储能技术验证平台

      6 技术装备(项目)名称:适用于光热与储热系统的大功率熔盐吸热器与 熔盐蒸汽发生系统
       研制单位:杭州锅炉集团有限公司
      依托工程或意向工程:青海中控太阳能发电有限公司德令哈熔盐塔式50MW光热发电项目

     7 技术装备(项目)名称:大规模储能液流电池用高性能全氟离子膜
研制单位:江苏科润膜材料有限公司
    依托工程或意向工程:上海电气汕头智慧能源系统项目配套1MW/1MWh液流电池储能系统

     8 技术装备(项目)名称:高成组效率长寿命户外液冷一体化储能电柜
研制单位:宁德时代新能源科技股份有限公司


      最后,衷心希望钠离子电池行业的上下游企业与各界合作伙伴一起推动钠离子电池进入各行各业,为电动中国,绿色中国贡献自己的一份力量,我们相信在不久的未来,钠离子电池将出现在更多行业、更多场景。


来源:轻型电动车

[←返回]

关于我们   |   关于合作   |   留言板   |   资料下载   |   广告服务  
  版权所有:南京诺溪新能源科技有限公司 苏ICP备14012130号   地址:南京金源路2号绿地之窗南广场D1栋808   
电话:025-52170985 18914486391