返回首页
你现在的位置: > 首页 > 全球前沿 > 正文

耳目一新!车顶光伏太阳能电池板可扩展应用于苹果手表/iPhone

发布日期:2020/5/8


       绝大多数便携式电子设备都需要给电池充电,有时,用户需要将iPhone手机插到墙上的插座上,或者把iPhone放到无线充电板上进行充电。而对于电动汽车而言,如传闻中的“苹果汽车”,驾驶员在长途旅行中必须去特定的充电站,等待很长时间,才能给汽车充好电。即使车辆到达了目的地,也不能保证会有充电设施,如此一来,会让电动汽车停着,却无法补充电力。

]

       据外媒报道,未来的苹果汽车可能会在车顶上安装光伏太阳能电池板,以最大限度地增加车辆的续航里程,加快车辆闲置时的充电速度。不过,苹果还认为,该技术适合扩展,应用于苹果手表、iPhone以及其他设备的外壳上。当地时间3月24日,美国专利商标局(U.S. Patent and Trademark Office)向苹果公司授予了一项名为“光伏电池系统”(Systems with photovoltaic cells)的专利,苹果建议,在需要充电的产品上应用太阳能电池板,从而可以随着时间推移,慢慢地为产品充电。



       大体上,苹果公司建议采用一种由缠绕的绞线组成的材料,其中一些绞线能够导电。导电元件把设备的充电系统与安装在该材料上方的光伏电池连接。为确保具备最佳的功率流,必须利用绝缘绞线隔开导电绞线,避免整个结构中的导电元件互相接触。


      由于光伏电池可能是固定元件,因此苹果公司还建议使用薄膜光伏电池,让其沉积在柔性材料上,让1至10微米厚的薄膜来确定光伏电池的外壳形状。该专利表示,目前处于考虑中的材料包括织物、聚合物和皮革。


      苹果还认为,此种可弯曲的太阳能电池板材料可集成到耳机或电子设备的外壳中。该专利申请文件指出,苹果手表等手表设备、嵌入眼镜中的设备或头戴式设备,以及汽车上的设备都可受益于该系统。

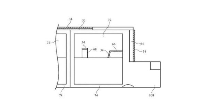
      该专利文件中的图纸描述了在耳机以及车辆上使用光伏太阳能电池板的情况。在车辆上使用时,此种电池板非常有用,因为如果汽车要在户外,暴露在阳光下很长时间,在车辆使用或停在外面时,都可以为其充电。


       在汽车车顶安装太阳能电池板并不是一个新概念,有些汽车制造商已经在车辆上安装了。在苹果的专利中,该薄膜可能会覆盖整辆车,甚至会覆盖一扇车窗。也表明该层薄膜可能是透明的,或者足够透明。


      苹果提出使用导电绞线的建议其实早就出现在了其专利申请中,其中包括2019年1月份,苹果申请专利解释,如何将导电绞线编织成接触点,以便更加无缝地将传感器和部件嵌入到服装或织物配件中。


来源:盖世汽车

[←返回]

关于我们   |   关于合作   |   留言板   |   资料下载   |   广告服务  
  版权所有:南京吉诺信息咨询有限公司 苏ICP备14012130号   地址:南京金源路2号绿地之窗南广场D1栋808   
电话:025-52170985 18914486391