返回首页
你现在的位置: > 首页 > 全球前沿 > 正文

找不同!储能电池BMS&动力电池BMS

发布日期:2018/4/28

 

 

1 大规模储能系统的应用场景

 

       新能源电站,风力发电或者太阳能发电站,为了实现平抑输出功率波动的目的,越来越多的发电厂开始配备储能系统。

 

       独立储能电站,随着电力制度改革逐渐进入人们的视野,以倒卖电力为生的独立储能电站逐渐出现。

 

       微电网,系统内部包含分布式电源,用电负荷,储能系统和电网管理系统的一个小型供配电网络。为了确保负荷的用电连续性和稳定性,每个微电网都会配备储能系统。

 

 

2 储能电池管理系统(ESBMS)与动力电池管理系统(BMS)的不同之处

 

       储能电池管理系统,与动力电池管理系统非常类似。但动力电池系统处于高速运动的电动汽车上,对电池的功率响应速度和功率特性、SOC估算精度、状态参数计算数量,都有更高的要求。

 

       储能系统规模极大,集中式电池管理系统与储能电池管理系统差异明显,这里只拿动力电池分布式电池管理系统与其对比。

 

 

2.1 电池及其管理系统在各自系统里的位置有所不同

 

       在储能系统中,储能电池在高压上只与储能变流器发生交互,变流器从交流电网取电,给电池组充电;或者电池组给变流器供电,电能通过变流器转换成交流发送到交流电网上去。

 

       储能系统的通讯,电池管理系统主要与变流器和储能电站调度系统有信息交互关系。一方面,电池管理系统给变流器发送重要状态信息,确定高压电力交互情况;另一方面,电池管理系统给储能电站的调度系统PCS发送最全面的监测信息。如下图所示。

 

 

储能系统基本拓扑

 

       电动汽车的BMS,在高压上,与电动机和充电机都有能量交换关系;在通讯方面,与充电机在充电过程中有信息交互,在全部应用过程中,与整车控制器有最为详尽的信息交互。如下图所示。

 

 

电动汽车电气拓扑

 

2.2 硬件逻辑结构不同

 

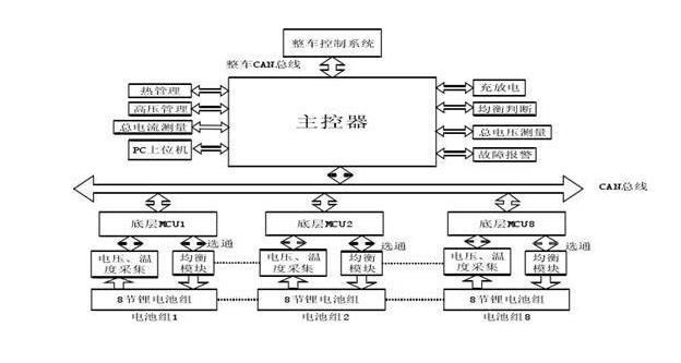
       储能管理系统,硬件一般采用两层或者三层的模式,规模比较大的倾向于三层管理系统,如下图所示。

 

 

三层储能电池管理系统框图

 

       动力电池管理系统,只有一层集中式或者两分布式,基本不会出现三层的情况。小型车主要应用一层集中式电池管理系统。两层的分布式动力电池管理系统,如下图所示。

 

分布式电动汽车电池管理系统框图

 

       从功能看,储能电池管理系统第一层和第二层模块基本等同于动力电池的第一层采集模块和第二层主控模块。储能电池管理系统的第三层,则是在此基础上增加的一层,用以应对储能电池巨大的规模。

 

       打一个不是那么恰当的比方。一个管理者的最佳下属数量是7个人,如果这个部门一直扩张,出现了49个人,那么只好7个人选一个组长,再任命一个经理管理这7个组长。超越个人能力,管理容易出现混乱。

 

       映射到储能电池管理系统上,这个管理能力就是芯片的计算能力和软件程序的复杂度。

 

 

2.3 通讯协议有区别

 

       储能电池管理系统与内部的通讯基本都采用CAN协议,但其与外部通讯,外部主要指储能电站调度系统PCS,往往采用互联网协议格式TCP/IP协议。

 

       动力电池,所在的电动汽车大环境都采用CAN协议,只是按照电池包内部组件之间使用内部CAN,电池包与整车之间使用整车CAN做区分。

 

 

2.4 储能电站采用的电芯种类不同,则管理系统参数区别较大

 

       储能电站出于安全性及经济性考虑,选择锂电池的时候,往往选用磷酸铁锂,更有的储能电站使用铅酸电池、铅碳电池。而电动汽车目前的主流电池类型是磷酸铁锂电池和三元锂电池。

 

       电池类型的不同,其外部特性区别巨大,电池模型完全不可以通用。而电池管理系统与电芯参数必须是一一对应的关系。不同厂家出品的同一种类型的电芯,其详细参数设置也不会相同。

 

 

2.5 阈值设置倾向不同

 

       储能电站,空间比较富裕,可以容纳较多的电池,但某些电站地处偏远,运输不便,电池的大规模更换,是比较困难的事情。储能电站对电芯的期望是寿命长,不要出故障。基于此,其工作电流上限值会设置的比较低,不让电芯满负荷工作。对于电芯的能量特性和功率特性要求都不需要特别高。主要看性价比。

 

       动力电池则不同,在车辆有限的空间内,好不容易装下的电池,希望把它的能力发挥到极致。因此,系统参数都会参照电池的极限参数,这样的应用条件对电池是恶劣的。

 

 

2.6 两者要求计算的状态参数数量不同

 

       SOC是两者都需要计算的状态参数。但直到今天,储能系统并没有一个统一要求,储能电池管理系统到底必须哪些状态参数计算能力。再加上,储能电池的应用环境,空间相对充裕,环境稳定,小偏差在大系统里不易被人感知。因此,储能电池管理系统的计算能力要求相对低于动力电池管理系统,相应的单串电池管理成本也没有动力电池高。

 

 

2.7 储能电池管理系统应用被动均衡条件比较好

 

       储能电站对管理系统均衡能力的要求非常迫切。储能电池模组的规模比较大,多串电池串联,较大的单体电压差将造成整个箱体的容量下降,串联电池越多,其损失的容量越多。从经济效率角度考虑,储能电站很需要充分的均衡。

 

       又由于在充裕的空间和良好的散热条件下,被动均衡能够更好的发挥效力,采用比较大的均衡电流,也不必担心温升过高问题。低价的被动均衡,可以在储能电站大展拳脚。

 

 

来源:动力电池热失控技术研究

 

[←返回]

关于我们   |   关于合作   |   留言板   |   资料下载   |   广告服务  
  版权所有:南京诺溪新能源科技有限公司 苏ICP备14012130号   地址:南京金源路2号绿地之窗南广场D1栋808   
电话:025-52170985 18914486391