返回首页
你现在的位置: > 首页 > 行业动态 > 正文

11家组件和逆变器企业中标国电投2017第一批集采供应商

发布日期:2017/3/22

3月21日,国家电力投资集团公司公布了其二〇一七年度第十批集中招标(第一批光伏并网逆变器、组件设备)招标结果公示。结果显示,亿晶光电、天合光能、乐叶光伏、特变电工、阳光电源、上能电气、中节能太阳能、 中电科电子、 光为绿色能源、中建材信息技术、江西仪能新能源等11家企业成功中标,成为2017年光伏行业首批设备供应商。


第一批光伏电池组件设备结果:

标段编号: 2017-TD-CTGS-0000-1-0031-1/1 
标段名称: 河北区域项目标段-单晶 
组件类型: 单晶 
采购容量(MWp): 10 
中标人: 常州亿晶光电科技有限公司

标段编号: 2017-TD-CTGS-0000-1-0031-1/2 
标段名称: 河北区域项目标段-多晶 
组件类型: 多晶 
采购容量(MWp): 40 
中标人: 常州天合光能有限公司
 
标段编号: 2017-TD-CTGS-0000-1-0031-1/3 
标段名称: 江西区域项目标段-单晶 
组件类型: 单晶 
采购容量(MWp): 10 
中标人: 常州亿晶光电科技有限公司
 
标段编号: 2017-TD-CTGS-0000-1-0031-1/4 
标段名称: 江西区域项目标段-多晶 
组件类型: 多晶 
采购容量(MWp): 40 
中标人: 常州天合光能有限公司
 
标段编号: 2017-TD-CTGS-0000-1-0031-1/5 
标段名称: 其它地区项目标段1包-单晶 
组件类型: 单晶 
采购容量(MWp): 44 
中标人: 常州亿晶光电科技有限公司
 
标段编号: 2017-TD-CTGS-0000-1-0031-1/6 
标段名称: 其它地区项目标段1包-多晶 
组件类型: 多晶 
采购容量(MWp): 176 
中标人: 常州天合光能有限公司
 
标段编号: 2017-TD-CTGS-0000-1-0031-1/7 
标段名称: 其它地区项目标段2包-单晶 
组件类型: 单晶 
采购容量(MWp): 24 
中标人: 光为绿色能源科技有限公司
 
标段编号: 2017-TD-CTGS-0000-1-0031-1/8 
标段名称: 其它地区项目标段2包-多晶 
组件类型: 多晶 
采购容量(MWp): 96 
中标人: 中节能太阳能科技(镇江)有限公司
 
标段编号: 2017-TD-CTGS-0000-1-0031-1/10 
标段名称: 其它地区项目标段3包-多晶 
组件类型: 多晶 
采购容量(MWp): 60 
中标人: 常州亿晶光电科技有限公司
 
标段编号: 2017-TD-CTGS-0000-1-0031-1/11 
标段名称: 高效组件项目标段1包-单晶 
组件类型: 单晶 
采购容量(MWp): 30 
中标人: 乐叶光伏科技有限公司
 
标段编号: 2017-TD-CTGS-0000-1-0031-1/13 
标段名称: 高效组件项目标段2包-单晶 
组件类型: 单晶 
采购容量(MWp): 20 
中标人: 中电科电子装备有限公司

 

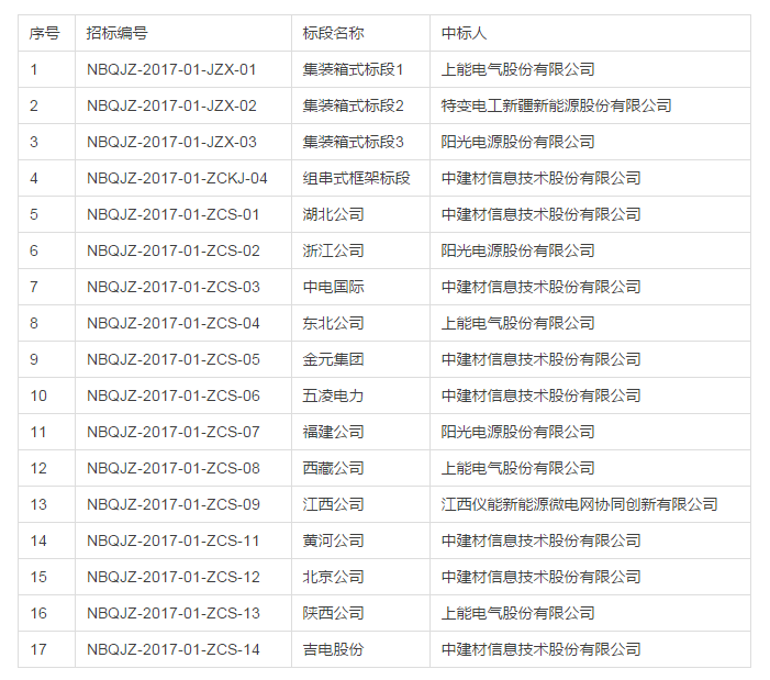
第一批光伏并网逆变器设备招标结果:

来源:世纪新能源网

 

[←返回]

关于我们   |   关于合作   |   留言板   |   资料下载   |   广告服务  
  版权所有:南京诺溪新能源科技有限公司 苏ICP备14012130号   地址:南京金源路2号绿地之窗南广场D1栋808   
电话:025-52170985 18914486391